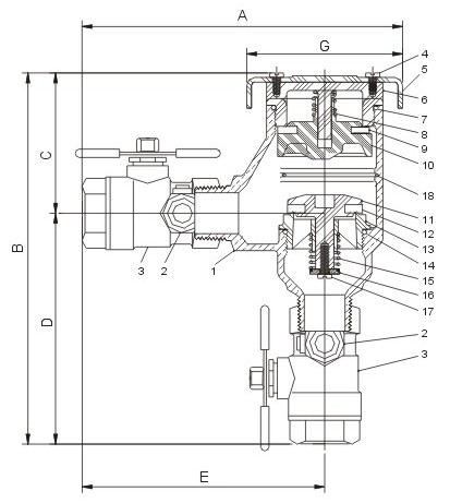
Specification
| No. | Part | Material |
| 1 | Body | Bronze B584 |
| 2 | 1/8M×1/4"F Testcock | Bronze B584 |
| 3 | Ball Valve | Bronze B584 |
| 4 | #6-32×3/8" Phstcs | 18-8 S.S. |
| 5 | Canopy | ABS |
| 6 | Bonnet | Nomal GFN2-780S |
| 7 | Bonnet O' ring | Buna-N |
| 8 | Vent Spring | 302 S.S. |
| 9 | Vent Disc | Silicone Rubber |
| 10 | Vent Disc Holder | Polyethylene |
| 11 | C.V Disc Holder | GFC BASF#GC25A |
| 12 | C.V Disc | Silicone Rubber |
| 13 | C.V Seat Ring | Nomal GFN2-780S |
| 14 | C.V Seat O' ring | Buna-N |
| 15 | C.V Spring | 302 S.S. |
| 16 | C.V Spring Retainer | Bronze B140-83 |
| 17 | #8-32×1/2" Phstcs | 18-8 S.S. |
| 18 | Spring Cup | 302 S.S. |
►Series XD-LF1203 is designed to prevent back-siphonage of contaminated water under continuous pressure into the potable water supply. Its superior design protects the valve body and internal components during sudden freeze conditions. Water inside the PVB freezes from the outside-inward.
►Test cocks are positioned at the lowest point of the valve for winterization draining.






